填空题
在教师后台中单击【题库管理】-【填空题】可进入填空题库:

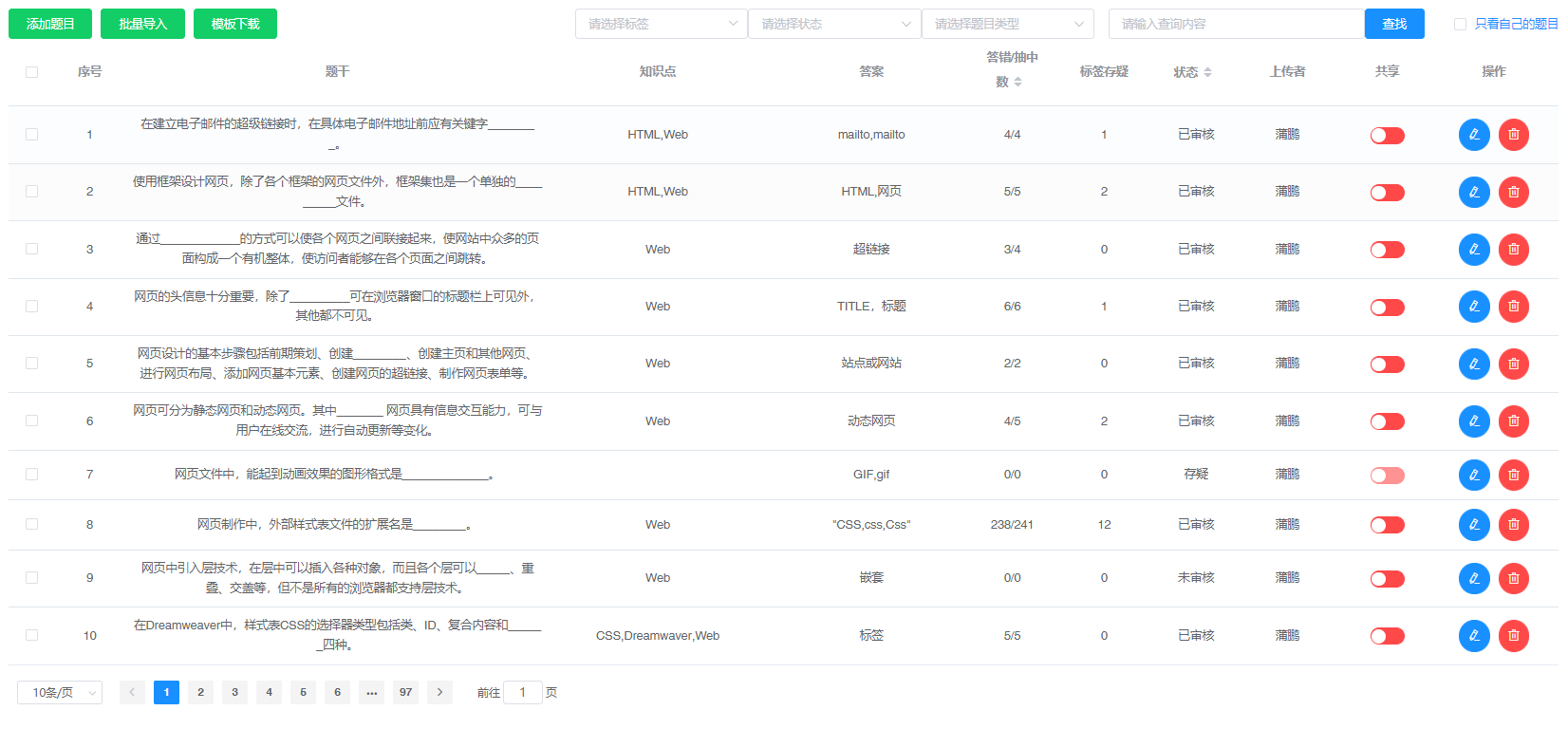
查找题目
您可以通过页面右上方的搜索框查找题目:
- 通过题目标签筛选
- 通过题目审核状态筛选
- 通过练习题库/考试题库筛选
- 通过搜索框精确搜索
- 勾选右上角【只查看自己的题目】复选框
选择或输入查找条件后单击【查找】按钮。
对于题目您可查看题干、知识点、正确答案、答错数/抽中数、题目审核状态、题目创建者、是否共享等,并可单击题目右侧的蓝色笔状按钮编辑题目:

您可重新编辑题目,修改正确答案以及添加或修改知识点标签,完成后单击【确定】按钮即可保存。
⚠️ 请注意: 若题目有多个答案,答案间请使用英文半角逗号分隔!
添加一个题目
您可以单击页面左上方的【添加题目】按钮单独添加填空题:

请输入题干、答案后根据情况单击是否审核题目,
⚠️ 请注意: 若题目有多个答案,答案间请使用英文半角逗号分隔!
- 已审核: 可在添加“测验”类型资源时添加该题;
- 未审核或存疑: 无法在添加“测验”类型资源时添加该题。
然后选择题库类型:
- 练习题: 题目仅可在创建“练习模式”的测验资源时加入;
- 考试题: 题目仅可在创建“考试模式”的测验资源时加入。
然后根据题目勾选对应的知识点,支持勾选多个小知识点。
输入完成后请单击【确定】按钮保存题目。
批量添加题目
您可以单击页面左上方的【模板下载】按钮批量添加填空题,请在Excel模板中根据提示录入题目:

完成编辑后请保存Excel文件,然后单击题库页面上方的【批量导入】按钮选择本地Excel文件并上传,然后单击【确定】按钮即可批量导入。