测验情况
如果您在课程中添加了“测验”资源,您可以在教师后台查看学生的答题情况。
在【我的班级】页面中,单击一个班级右侧操作菜单下的【考试】按钮可对该班级的学生测验情况进行查看:

选择测验
在右上角的下拉菜单中您可选择某个“测验”资源以查看。
导出CSV文件
您可以单击页面右上角的【导出CSV】按钮,将观看明细生成CSV文件并下载到本地。
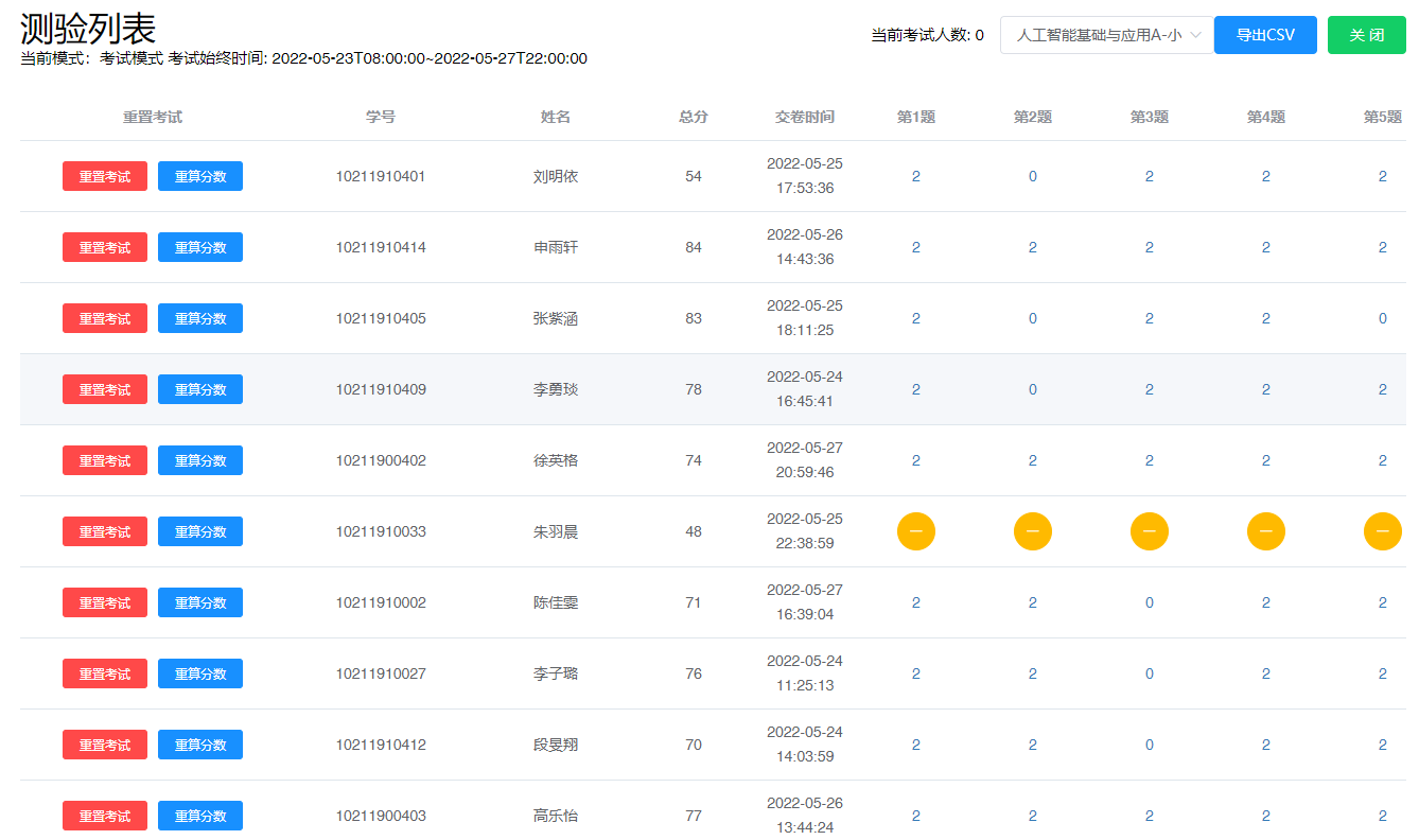
查看单个学生的答题情况
在下方列表中您可看到学生的答题总分、提交时间以及每个小题的得分。
若显示为黄色圆圈,代表学生未作答该题。
单击小题的分值可以详细查看题目以及学生提交的答案:


您可以根据需要修改学生某个小题的得分,并单击【确定】按钮保存修改。
重置考试(仅限“考试模式”的测验资源)
单击学生行左侧的【重置考试】按钮可清空学生的作答记录,允许学生重新进入考试。
单击学生行左侧的【重算分数】按钮可根据题目原始分值重新累计。