班级学生名单操作
在【我的班级】页面中,单击班级右侧的操作菜单下的【学生名单】,可对该班级的学生进行操作:

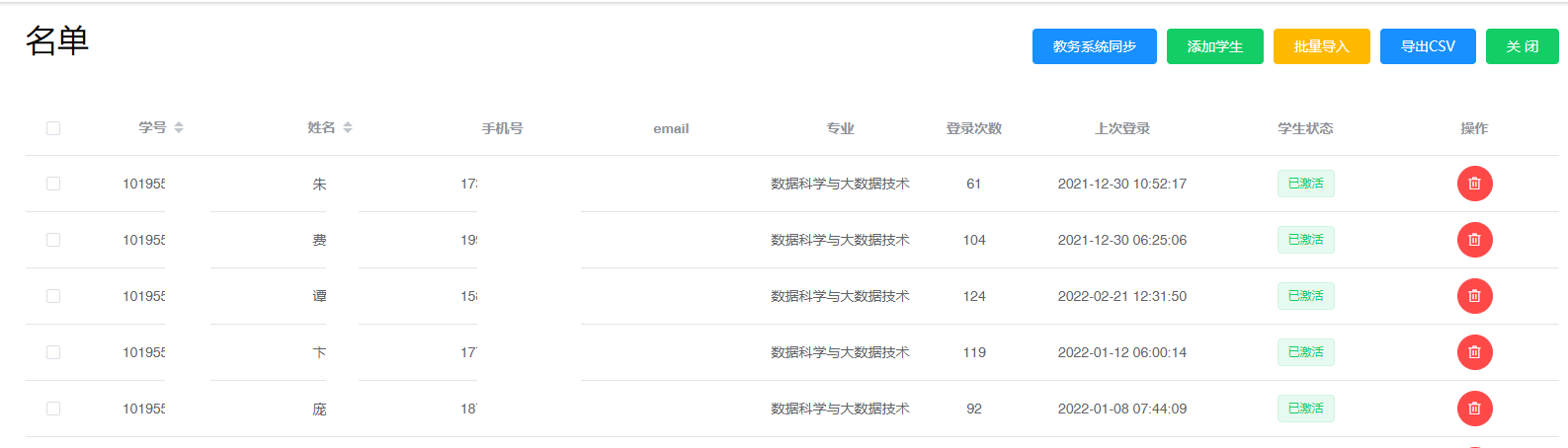
列表中显示学生的相关信息,您可以单击学生右侧的红色垃圾桶图标从班级中剔除该学生。
教务系统同步
若因为学生补退选课程需要更新名单,可以单击【教务系统同步】按钮更新学生名单。
⚠️ 请注意: 同步功能 不会 自动剔除在本科生教务系统上退选课程的学生,需要您手动删除。
添加学生
⚠️ 请注意: 切勿 要求后加入课程的学生通过注册页面注册水杉在线的账户!否则仅会授予社会人士的权限!
若您的班级需要单独添加学生,可单击右上角的【添加学生】按钮:

在弹出的对话框中输入学生的学号后,单击【检索】按钮,系统会检索该学号是否在平台拥有账户。
若有该账户,下方的姓名和专业栏会显示相关信息,确认无误后单击【确定】按钮即可;若没有账户,下方的姓名和专业栏会开放输入,请您输入学生的姓名和专业后,单击【确定】按钮,并提示学生使用学号作为用户名和初始密码。
批量导入
若您创建班级时选择了“创建空班级”或需要导入大量学生,可使用批量导入功能。请单击右上角的【批量导入】按钮,支持Excel导入和从教务系统导入。
导出CSV
您可以单击右上角的【导出CSV】按钮,将班级名单以CSV格式保存至本地。